


自动反冲洗过滤器-F系列
产品编号:F系列
产品型号:HMT-F
图片:

1.技术描述
1.1概述
- F系列自动反冲洗过滤器用于过滤和拦截低粘度液体中的颗粒杂质。它优秀的结构设计和自动清洁的功能为用户带来了稳定可靠的操控性能,同时也大幅度削减了运行维护费用,全系列过滤器采用超级编织网式不锈钢滤芯,过滤精度从10到3000微米,同时保证了工艺介质中污染颗粒的高去除率。当过滤器监测到滤芯堵塞时就会启动在线自动清洗过程,在此清洗过程中并不影响过滤器出口液流的连续性。有多种不同规格大小的过滤器可供选择,单台过滤器能够处理的最大流量可达10,000立方米每小时。灵活的材质和部件的不同组合以及可单独调整的控制参数使这种自动反冲洗过滤器能够应用于各种领域。
1.2 技术特点
1.2.1 等动能的过滤和反冲洗过程
滤芯独特滤网和滤芯结构,避免了液体的湍动和逆流,可有效降低了液体流经过滤器的压降,也保证了滤芯的高效清洗,实现了更少的清洗次数,更少的清洗 耗液量。
1.2.2脉动式反冲洗
反冲洗臂在每个滤芯两端反冲洗的时间只有1.5-2秒钟,快速开启的气动反冲洗阀门在滤芯底端的开口处产生了一个瞬间抽吸式的压力脉动,为滤志的清洗过程提供了额外的动力。
1.2.3极低的反洗耗液量
每个滤芯反冲洗的过程中,反冲洗阀门开启、关闭一次。
2.结构部件


3.工作原理
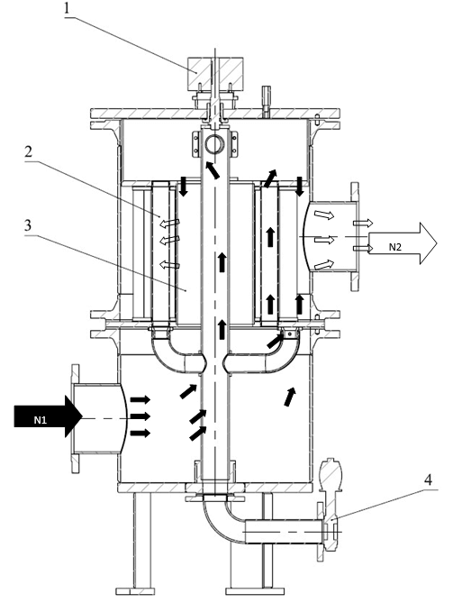
3.1过滤阶段流程

过滤阶段示意图
1.减速机 2.滤芯 3.中间通道 4.排污阀
N1.过滤器入口 N2.过滤器出口
待过滤的流体经过滤器入口N1,进入过滤器内部,一部分流体经过中间通道进入过滤器上部,待过滤流体通过滤芯的上下两个接口,进入滤芯内部,通过滤芯的滤网过滤,洁净流体汇合后经过滤器出口流出过滤器,杂质颗粒则被留在滤芯滤网的内表面上,在此阶段,减速机和排污阀是关闭的。
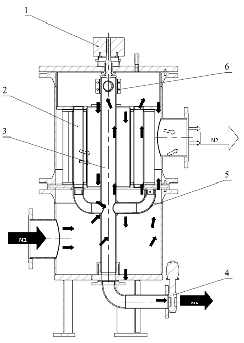
3.2反冲洗阶段流程

反冲洗阶段示意图
1.减速机 2.滤芯 3.传动轴 4.排污阀 5.下排污臂 6.上排污臂
N1.过滤器入口 N2.过滤器出口 N3.排污管道
在过滤器过滤流体时,随着滤芯内杂质的越来越多,过滤器进出口的压力差也越来越大。当这个压力差达到一定的预设值时,反冲洗程序启动。控制系统控制排污阀打开,减速机开始运转,并通过转动轴带动上下排污臂匀速旋转。为了防止排污臂卡住和滤芯堵塞,控制系统设定即使没有达到压力差设定值,达到一定时间间隔时,反冲洗程序也自动启动。反冲洗状态时,当与排污管道相连的排污臂接口对准某一个滤芯时,因为排污阀已经打开,所以由于压差的作用,经过滤的结晶流体由这根滤芯外部反冲到内部,把附着在滤芯内表面的杂质经排污臂冲到排污管道N3排出。 通过排污臂匀速旋转,可以达到对滤芯逐根冲洗的目的,而且这个过程中,不影响其他滤芯的过滤功能,从而实现在过滤过程中自动反冲洗的效果。
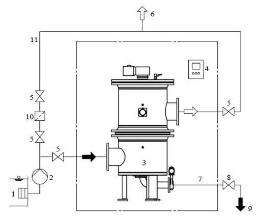
4.安装示意图

过滤器安装示意图
